Evoxt加拿大蒙特利尔VPS,$2.99/月起,特色AMD高性能处理器+NVMe硬盘,1Gbps大带宽,1*IPv4+1*IPv6双栈,支持每周备份,支持Windows server 2012/2016/2022。目前该商家还有优化线路套餐:中国香港、日本(大阪)和马来西亚;普通线路有美国、英国、加拿大、德国、波兰、阿姆斯特丹、日本(东京)、马来西亚和澳大利亚。这篇笔记就来测评分享该商家的加拿大蒙特利尔VPSVPS的测评数据……
1、官网
官方网站:https://evoxt.com/
2、加拿大蒙特利尔VPS套餐
AMD高性能处理器+NVMe硬盘,1Gbps大带宽,1*IPv4+1*IPv6双栈,支持每周备份,支持Windows server 2012/2016/2022
Tips:标注红色文字套餐为今天的测评机器。
| CPU | 内存 | NVMe | 带宽/月流量 | 月付 | 购买 |
| 1核 | 512M | 5G | 1Gbps/500G | $2.99 | 链接 |
| 1核 | 1G | 10G | 1Gbps/750G | $4.99 | 链接 |
| 1核 | 2G | 20G | 1Gbps/1T | $5.99 | 链接 |
| 2核 | 2G | 20G | 1Gbps/1.5T | $6.95 | 链接 |
| 2核 | 4G | 30G | 1Gbps/2T | $11.99 | 链接 |
| 4核 | 4G | 30G | 1Gbps/3T | $14.99 | 链接 |
| 4核 | 8G | 60G | 1Gbps/4T | $23.99 | 链接 |
| 8核 | 8G | 60G | 1Gbps/5T | $29.99 | 链接 |
| 8核 | 16G | 80G | 1Gbps/6T | $47.99 | 链接 |
| 16核 | 16G | 80G | 1Gbps/8T | $60.95 | 链接 |
| 16核 | 32G | 100G | 1Gbps/10T | $95.99 | 链接 |
3、基本参数
打死
Basic System Information: --------------------------------- Uptime : 0 days, 1 hours, 18 minutes Processor : AMD EPYC-Genoa Processor CPU cores : 1 @ 4491.600 MHz AES-NI : ✔ Enabled VM-x/AMD-V : ❌ Disabled RAM : 457.8 MiB Swap : 1.0 GiB Disk : 5.0 GiB Distro : Debian GNU/Linux 12 (bookworm) Kernel : 6.1.0-9-amd64 VM Type : KVM IPv4/IPv6 : ✔ Online / ✔ Online IPv6 Network Information: --------------------------------- ISP : Evoxt Enterprise ASN : AS149440 Evoxt Enterprise Location : Montreal, Quebec (QC) Country : Canada
4、IP测试
流媒体:
流媒体:
IP质量测试(ipv4):
IP质量测试(ipv6):
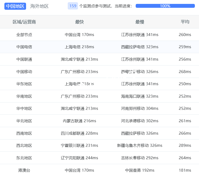
5、网络测试
Speedtest:
网络质量测试(ipv4):
网络质量测试(ipv6):
ping检测:
6、路由
三网回程(ipv4)
五、三网回程路由(线路可能随网络负载动态变化) 北京 电信 Cogent -> 163 地理路径:加拿大 -> 英国 -> 荷兰 -> 北京 自治系统路径:AS149440 -> AS174 -> AS4134 -> AS4847 1 0.29ms 166.0.*.* AS149440 加拿大 魁北克省 蒙特利尔 evoxt.com 2 0.50ms 10.255.*.* * RFC1918 5-6 1.81ms 154.24.*.* AS174 [COGENT-BONE] 加拿大 魁北克 蒙特利尔 cogentco.com 7 71.50ms 154.54.*.* AS174 [COGENT-BONE] 英国 默西赛德郡 南码头 cogentco.com 8-9 80.90ms 154.54.*.* AS174 [COGENT-BONE] 荷兰 北荷兰省 阿姆斯特丹 cogentco.com 11-13 219.36ms 202.97.*.* AS4134 [CHINANET-BB] 中国 北京 chinatelecom.com.cn 电信 15-17 267.84ms 219.141.*.* AS4847 [CHINATELECOM-BJ] 中国 北京 bj.189.cn 18 268.86ms 106.37.*.* AS4847 [CHINANET-HN] 中国 北京 bj.189.cn 北京 联通 Cogent -> 4837 地理路径:加拿大 -> 美国 -> 北京 自治系统路径:AS174 -> AS4837 -> AS4808 2 0.44ms 10.255.*.* * RFC1918 5-6 1.55ms 154.24.*.* AS174 [COGENT-BONE] 加拿大 魁北克 蒙特利尔 cogentco.com 7 8.73ms 154.54.*.* AS174 [COGENT-BONE] 加拿大 安大略 多伦多 cogentco.com 8 13.45ms 154.54.*.* AS174 [COGENT-BONE] 美国 俄亥俄 克里夫兰 cogentco.com 9 21.18ms 154.54.*.* AS174 [COGENT-BONE] 美国 伊利诺伊州 芝加哥 cogentco.com 10 29.04ms 154.54.*.* AS174 [COGENT-BONE] 美国 内布拉斯加 奥马哈 cogentco.com 11 69.50ms 154.54.*.* AS174 [COGENT-BONE] 美国 科罗拉多 丹佛 cogentco.com 12 50.32ms 154.54.*.* AS174 [COGENT-BONE] 美国 犹他 盐湖城 cogentco.com 13-15 64.63ms 154.54.*.* AS174 [COGENT-BONE] 美国 加利福尼亚 洛杉矶 cogentco.com 16 271.27ms 38.88.*.* AS174 美国 加利福尼亚 洛杉矶 cogentco.com 17-18 289.04ms 219.158.*.* AS4837 [CU169-BACKBONE] 中国 北京 chinaunicom.cn 联通 20 248.34ms 61.49.*.* AS4808 中国 北京 www.bbn.com.cn 联通 21 292.15ms 125.33.*.* AS4808 [UNICOM-BJ] 中国 北京 通州 www.bbn.com.cn 25 249.85ms 221.222.*.* AS4808 [UNICOM-BJ] 中国 北京 海淀 www.bbn.com.cn 北京 移动 HE -> CMI 地理路径:加拿大 -> 美国 -> 北京 自治系统路径:AS6939 -> AS58453 -> AS9808 -> AS56048 2 0.65ms 10.255.*.* * RFC1918 4 1.06ms 216.66.*.* AS6939 [HURRICANE-6] 加拿大 魁北克 蒙特利尔 he.net 5 8.98ms 184.104.*.* AS6939 [HURRICANE-11] 加拿大 安大略 多伦多 he.net 6 18.54ms 184.105.*.* AS6939 [HURRICANE-11] 美国 伊利诺伊 芝加哥 he.net 7 43.76ms 184.105.*.* AS6939 [HURRICANE-11] 加拿大 艾伯塔省 卡尔加里 he.net 8 53.91ms 184.104.*.* AS6939 [HURRICANE-11] 加拿大 不列颠哥伦比亚 温哥华 he.net 9 57.77ms 223.121.*.* AS58453 [CMI-INT] 美国 加利福尼亚 洛杉矶 cmi.chinamobile.com 10-11 71.48ms 223.120.*.* AS58453 [CMI-INT] 美国 华盛顿州 西雅图 cmi.chinamobile.com 移动 12-16 235.04ms 221.183.*.* AS9808 [CMNET] 中国 北京 X-I chinamobileltd.com 移动 17-19 244.20ms 211.136.*.* AS56048 [CMNET] 中国 北京 bj.10086.cn 移动 21 236.94ms 211.136.*.* AS56048 [CMNET] 中国 北京 bj.10086.cn 移动 上海 电信 Cogent -> 163 地理路径:加拿大 -> 英国 -> 荷兰 -> 上海 自治系统路径:AS174 -> AS4134 -> AS4812 2 0.44ms 10.255.*.* * RFC1918 5-6 1.95ms 154.24.*.* AS174 [COGENT-BONE] 加拿大 魁北克 蒙特利尔 cogentco.com 7 71.56ms 154.54.*.* AS174 [COGENT-BONE] 英国 默西赛德郡 南码头 cogentco.com 8-9 80.81ms 154.54.*.* AS174 [COGENT-BONE] 荷兰 北荷兰省 阿姆斯特丹 cogentco.com 11-13 217.17ms 202.97.*.* AS4134 [CHINANET-BB] 中国 上海 X-I chinatelecom.com.cn 电信 14 233.38ms 101.95.*.* AS4812 [CHINANET-SH] 中国 上海 chinatelecom.cn 电信 20 215.67ms 101.226.*.* AS4812 [CHINANET-SH] 中国 上海市 chinatelecom.cn 电信 上海 联通 HE -> 4837 地理路径:加拿大 -> 美国 -> 上海 自治系统路径:AS6939 -> AS4837 -> AS140979 2 0.48ms 10.255.*.* * RFC1918 4 4.90ms 216.66.*.* AS6939 [HURRICANE-6] 加拿大 魁北克 蒙特利尔 he.net 5 8.08ms 184.104.*.* AS6939 [HURRICANE-11] 加拿大 安大略 多伦多 he.net 7-8 70.21ms 184.104.*.* AS6939 [HURRICANE-11] 美国 加利福尼亚州 弗里蒙特 he.net 9 244.61ms 64.71.*.* AS6939 美国 加利福尼亚 圣何塞 he.net 10-11 253.91ms 219.158.*.* AS4837 [CU169-BACKBONE] 中国 上海 chinaunicom.cn 联通 19 211.00ms 112.64.*.* AS140979 [APNIC-AP] 中国 上海市 闵行 chinaunicom.cn 联通 上海 移动 HE -> CMI 地理路径:加拿大 -> 美国 -> 上海 自治系统路径:AS6939 -> AS58453 -> AS9808 2 0.50ms 10.255.*.* * RFC1918 4 0.91ms 216.66.*.* AS6939 [HURRICANE-6] 加拿大 魁北克 蒙特利尔 he.net 5 8.25ms 184.104.*.* AS6939 [HURRICANE-11] 加拿大 安大略 多伦多 he.net 6 29.60ms 184.105.*.* AS6939 [HURRICANE-11] 加拿大 曼尼托巴 温尼伯 he.net 7 31.26ms 184.104.*.* AS6939 [HURRICANE-11] 美国 明尼苏达州 明尼阿波利斯 he.net 8 54.28ms 184.104.*.* AS6939 [HURRICANE-11] 加拿大 不列颠哥伦比亚 温哥华 he.net 9 57.24ms 184.104.*.* AS6939 [HURRICANE-11] 美国 华盛顿 西雅图 he.net 10 57.27ms 223.121.*.* AS58453 [CMI-INT] 美国 加利福尼亚 洛杉矶 cmi.chinamobile.com 11 69.36ms 223.120.*.* AS58453 [CMI-INT] 美国 华盛顿州 西雅图 cmi.chinamobile.com 移动 12-15 256.98ms 221.183.*.* AS9808 [CMNET] 中国 上海 X-I chinamobileltd.com 移动 18 262.68ms 117.185.*.* AS9808 [CMNET] 中国 上海市 chinamobileltd.com 移动 广东 电信 Cogent -> 163 地理路径:加拿大 -> 英国 -> 荷兰 -> 香港 -> 广东 自治系统路径:AS174 -> AS4134 2 0.59ms 10.255.*.* * RFC1918 5-6 1.48ms 154.24.*.* AS174 [COGENT-BONE] 加拿大 魁北克 蒙特利尔 cogentco.com 7 72.02ms 154.54.*.* AS174 [COGENT-BONE] 英国 默西赛德郡 南码头 cogentco.com 8-9 80.76ms 154.54.*.* AS174 [COGENT-BONE] 荷兰 北荷兰省 阿姆斯特丹 cogentco.com 11 229.01ms 202.97.*.* AS4134 [CHINANET-BB] 中国 香港 chinatelecom.com.cn 电信 12 227.55ms 202.97.*.* AS4134 [CHINANET-BB] 中国 广东 广州 chinatelecom.com.cn 电信 20 229.54ms 183.47.*.* AS4134 [APNIC-AP] 中国 广东省 广州市 chinatelecom.com.cn 电信 广东 联通 HE -> 4837 地理路径:加拿大 -> 美国 -> 上海 -> 广东 自治系统路径:AS6939 -> AS4837 -> AS17816 -> AS136958 2 0.43ms 10.255.*.* * RFC1918 4 1.28ms 216.66.*.* AS6939 [HURRICANE-6] 加拿大 魁北克 蒙特利尔 he.net 5 10.89ms 184.104.*.* AS6939 [HURRICANE-11] 加拿大 安大略 多伦多 he.net 6 19.34ms 184.105.*.* AS6939 [HURRICANE-11] 美国 伊利诺伊 芝加哥 he.net 7-8 63.25ms 184.104.*.* AS6939 [HURRICANE-11] 美国 加利福尼亚州 弗里蒙特 he.net 9 246.14ms 64.71.*.* AS6939 美国 加利福尼亚 圣何塞 he.net 10-12 242.96ms 219.158.*.* AS4837 [CU169-BACKBONE] 中国 上海 chinaunicom.cn 联通 14 306.60ms 120.81.*.* AS17816 [APNIC-AP] 中国 广东 广州 China Unicom IP network China169 Guangdong province 20 263.56ms 157.148.*.* AS136958 [UNICOM-GD] 中国 广东省 广州市 chinaunicom.cn 联通 广东 移动 HE -> CMI 地理路径:加拿大 -> 美国 -> 广东 自治系统路径:AS6939 -> AS58453 -> AS9808 -> AS56040 2 0.55ms 10.255.*.* * RFC1918 4 1.28ms 216.66.*.* AS6939 [HURRICANE-6] 加拿大 魁北克 蒙特利尔 he.net 5 8.62ms 184.104.*.* AS6939 [HURRICANE-11] 加拿大 安大略 多伦多 he.net 6 19.15ms 184.105.*.* AS6939 [HURRICANE-11] 美国 伊利诺伊 芝加哥 he.net 7 43.20ms 184.105.*.* AS6939 [HURRICANE-11] 加拿大 艾伯塔省 卡尔加里 he.net 8 53.94ms 184.104.*.* AS6939 [HURRICANE-11] 加拿大 不列颠哥伦比亚 温哥华 he.net 9 56.88ms 184.104.*.* AS6939 [HURRICANE-11] 美国 华盛顿 西雅图 he.net 10 56.98ms 223.121.*.* AS58453 [CMI-INT] 美国 加利福尼亚 洛杉矶 cmi.chinamobile.com 11 69.54ms 223.120.*.* AS58453 [CMI-INT] 美国 华盛顿州 西雅图 cmi.chinamobile.com 移动 12 199.35ms 223.120.*.* AS58453 [CMI-INT] 中国 广东 广州 cmi.chinamobile.com 移动 13-15 211.58ms 221.183.*.* AS9808 [CMNET] 中国 广东 广州 X-I chinamobileltd.com 移动 16 211.99ms 211.136.*.* AS56040 [CMNET] 中国 广东 广州 gd.10086.cn 移动 17-20 213.82ms 183.235.*.* AS56040 [APNIC-AP] 中国 广东 广州 gd.10086.cn 移动 22 218.38ms 211.139.*.* AS56040 [CMNET] 中国 广东 广州 gd.10086.cn 移动
电信去程:
联通去程:
移动去程:
三网回程(ipv6):
五、三网回程路由(线路可能随网络负载动态变化) 北京 电信 AS36666 -> 163 地理路径:马来西亚 -> 加拿大 -> 美国 -> 北京 自治系统路径:AS149440 -> AS36666 -> AS4134 -> AS23724 1 0.39ms 2400:8d60:12:*:*:*:*:* AS149440 马来西亚 evoxt.com 2 0.63ms 2001:19c0:1:*:*:*:*:* AS36666 加拿大 globo.tech 7 14.45ms 2001:504:36:*:*:*:*:* AS4134 美国 纽约 纽约 DE-CIX New York - China Telecom - 10Gbps chinatelecom.com.cn 9-11 225.96ms 240e:0:a:*:*:*:*:* AS4134 中国 北京 chinatelecom.com.cn 电信 12-14 225.88ms 240e:0:9000:*:*:*:*:* AS23724 中国 北京 bjtelecom.net 电信 16 220.42ms 240e:904:800:*:*:*:*:* AS23724 中国 北京市 bjtelecom.net 电信 北京 联通 Zayo -> 4837 地理路径:马来西亚 -> 加拿大 -> 美国 -> 上海 -> 北京 自治系统路径:AS149440 -> AS36666 -> AS6461 -> AS6939 -> AS6461 -> AS4837 -> AS4808 1 0.45ms 2400:8d60:12:*:*:*:*:* AS149440 马来西亚 evoxt.com 2 0.80ms 2001:19c0:1:*:*:*:*:* AS36666 加拿大 globo.tech 4 0.98ms 2001:438:8000:*:*:*:*:* AS6461 美国 zayo.com 5 59.44ms 2001:438:ffff:*:*:*:*:* AS6461 加拿大 魁北克省 蒙特利尔 zayo.com 6 8.86ms 2001:470:0:*:*:*:*:* AS6939 加拿大 安大略 多伦多 he.net 11 254.99ms 2001:470:0:*:*:*:*:* AS6939 美国 加利福尼亚 圣何塞 he.net 12 60.03ms 2001:438:ffff:*:*:*:*:* AS6461 美国 加利福尼亚 洛杉矶 zayo.com 13 236.90ms 2408:8000:2:*:*:*:*:* AS4837 中国 上海 chinaunicom.cn 联通 14-16 206.47ms 2408:8000:2:*:*:*:*:* AS4837 中国 北京 chinaunicom.cn 联通 17-18 237.57ms 2408:8000:1f10:*:*:*:*:* AS4808 中国 北京 www.bbn.com.cn 联通 19 236.56ms 2408:8706:0:*:*:*:*:* AS4808 中国 北京市 www.bbn.com.cn 联通 北京 移动 Cogent -> CMI 地理路径:马来西亚 -> 加拿大 -> 英国 -> 香港 -> 上海 -> 北京 自治系统路径:AS149440 -> AS36666 -> AS174 -> AS58453 -> AS9808 1 0.41ms 2400:8d60:12:*:*:*:*:* AS149440 马来西亚 evoxt.com 2 0.61ms 2001:19c0:1:*:*:*:*:* AS36666 加拿大 globo.tech 4-5 1.30ms 2001:550:2:*:*:*:*:* AS174 加拿大 魁北克 蒙特利尔 cogentco.com 8 75.90ms 2001:550:0:*:*:*:*:* AS174 英国 英格兰 斯劳 cogentco.com 12 283.17ms 2402:4f00:2000:*:*:*:*:* AS58453 中国 香港 cmi.chinamobile.com 13-15 264.75ms 2409:8080:0:*:*:*:*:* AS9808 中国 上海 chinamobileltd.com 移动 16-19 305.11ms 2409:8080:0:*:*:*:*:* AS9808 中国 北京 chinamobileltd.com 移动 20 298.27ms 2409:8c00:7821:*:*:*:*:* AS9808 中国 北京市 chinamobileltd.com 移动 上海 电信 AS36666 -> 163 地理路径:马来西亚 -> 加拿大 -> 美国 -> 上海 自治系统路径:AS149440 -> AS36666 -> AS4134 -> AS4812 1 0.52ms 2400:8d60:12:*:*:*:*:* AS149440 马来西亚 evoxt.com 2 0.52ms 2001:19c0:1:*:*:*:*:* AS36666 加拿大 globo.tech 7 20.56ms 2001:504:36:*:*:*:*:* AS4134 美国 纽约 纽约 DE-CIX New York - China Telecom - 10Gbps chinatelecom.com.cn 9 194.31ms 240e:0:a:*:*:*:*:* AS4134 中国 chinatelecom.com.cn 电信 11 208.62ms 240e::f:*:*:*:*:* AS4134 中国 上海 chinatelecom.com.cn 电信 12-14 198.45ms 240e:18:10:*:*:*:*:* AS4812 中国 上海 chinatelecom.cn 16 199.45ms 240e:96c:6000:*:*:*:*:* AS4812 中国 上海市 chinatelecom.cn 电信 上海 联通 Cogent -> 4837 地理路径:马来西亚 -> 加拿大 -> 美国 -> 北京 -> 江苏 自治系统路径:AS149440 -> AS36666 -> AS174 -> AS4837 1 0.60ms 2400:8d60:12:*:*:*:*:* AS149440 马来西亚 evoxt.com 2 1.14ms 2001:19c0:1:*:*:*:*:* AS36666 加拿大 globo.tech 4-6 1.53ms 2001:550:2:*:*:*:*:* AS174 加拿大 魁北克省 蒙特利尔 cogentco.com 8 13.81ms 2001:550:0:*:*:*:*:* AS174 美国 俄亥俄 克里夫兰 cogentco.com 9 20.86ms 2001:550:0:*:*:*:*:* AS174 美国 伊利诺伊州 芝加哥 cogentco.com 11 42.16ms 2001:550:0:*:*:*:*:* AS174 美国 德克萨斯 达拉斯 cogentco.com 12 53.54ms 2001:550:0:*:*:*:*:* AS174 美国 得克萨斯州 埃尔帕索 cogentco.com 17-19 271.78ms 2408:8000:2:*:*:*:*:* AS4837 中国 北京 chinaunicom.cn 联通 20-22 260.72ms 2408:8000:2:*:*:*:*:* AS4837 中国 江苏 南京 chinaunicom.cn 联通 24 291.85ms 2408:873c:6810:*:*:*:*:* AS4837 中国 江苏省 泰州市 chinaunicom.cn 联通 上海 移动 Zayo -> CMI 地理路径:马来西亚 -> 加拿大 -> 美国 -> 上海 自治系统路径:AS149440 -> AS36666 -> AS6461 -> AS9808 -> AS6461 -> AS9808 -> AS58453 -> AS9808 1 0.71ms 2400:8d60:12:*:*:*:*:* AS149440 马来西亚 evoxt.com 2 0.63ms 2001:19c0:1:*:*:*:*:* AS36666 加拿大 globo.tech 4 8.89ms 2001:438:8000:*:*:*:*:* AS6461 美国 zayo.com 5 59.66ms 2001:438:ffff:*:*:*:*:* AS6461 加拿大 魁北克省 蒙特利尔 zayo.com 6 59.52ms 2001:438:ffff:*:*:*:*:* AS6461 加拿大 安大略 多伦多 zayo.com 9-10 60.10ms 2001:438:ffff:*:*:*:*:* AS6461 美国 科罗拉多 丹佛 zayo.com 11 223.26ms 2409:8080:0:*:*:*:*:* AS9808 中国 上海 chinamobileltd.com 移动 12 59.60ms 2001:438:ffff:*:*:*:*:* AS6461 美国 加利福尼亚 洛杉矶 zayo.com 16 235.69ms 2402:4f00:1000:*:*:*:*:* AS58453 中国 香港 cmi.chinamobile.com 移动 18 262.75ms 2409:8c1e:68e0:*:*:*:*:* AS9808 中国 上海市 chinamobileltd.com 移动 广东 电信 AS36666 -> 163 地理路径:马来西亚 -> 加拿大 -> 广东 自治系统路径:AS149440 -> AS36666 -> AS4134 -> AS4816 1 0.58ms 2400:8d60:12:*:*:*:*:* AS149440 马来西亚 evoxt.com 2 0.85ms 2001:19c0:1:*:*:*:*:* AS36666 加拿大 globo.tech 9-10 227.17ms 240e:0:a:*:*:*:*:* AS4134 中国 chinatelecom.com.cn 电信 11 223.51ms 240e::f:*:*:*:*:* AS4134 中国 广东 广州 chinatelecom.com.cn 电信 12-13 235.48ms 240e:1f:6000:*:*:*:*:* AS4816 中国 广东 深圳 电信 16 223.11ms 240e:97c:4008:*:*:*:*:* AS4816 中国 广东省 深圳市 电信 广东 联通 Zayo -> 4837 地理路径:马来西亚 -> 加拿大 -> 美国 -> 北京 -> 广东 自治系统路径:AS149440 -> AS36666 -> AS6461 -> AS6939 -> AS6461 -> AS4837 -> AS17623 -> AS135061 -> AS17623 1 0.59ms 2400:8d60:12:*:*:*:*:* AS149440 马来西亚 evoxt.com 2 0.93ms 2001:19c0:1:*:*:*:*:* AS36666 加拿大 globo.tech 4 1.10ms 2001:438:8000:*:*:*:*:* AS6461 美国 zayo.com 5 61.30ms 2001:438:ffff:*:*:*:*:* AS6461 加拿大 魁北克省 蒙特利尔 zayo.com 6 9.54ms 2001:470:0:*:*:*:*:* AS6939 加拿大 安大略 多伦多 he.net 11-12 59.45ms 2001:438:ffff:*:*:*:*:* AS6461 美国 加利福尼亚 洛杉矶 zayo.com 13 230.51ms 2408:8000:2:*:*:*:*:* AS4837 中国 chinaunicom.cn 联通 14-16 257.08ms 2408:8000:2:*:*:*:*:* AS4837 中国 北京 chinaunicom.cn 联通 17 242.86ms 2408:8001:3071:*:*:*:*:* AS17623 中国 广东 深圳 chinaunicom.cn 18 248.75ms 2408:8001:3171:*:*:*:*:* AS135061 中国 广东 深圳 chinaunicom.cn 联通 19 253.48ms 2408:8001:3071:*:*:*:*:* AS17623 中国 广东 深圳 chinaunicom.cn 广东 移动 AS36666 -> CMI 地理路径:马来西亚 -> 加拿大 -> 美国 -> 香港 -> 广东 自治系统路径:AS149440 -> AS36666 -> AS58453 -> AS9808 -> AS56040 -> AS9808 1 0.46ms 2400:8d60:12:*:*:*:*:* AS149440 马来西亚 evoxt.com 2 0.93ms 2001:19c0:1:*:*:*:*:* AS36666 加拿大 globo.tech 8 61.54ms 2402:4f00:1000:*:*:*:*:* AS58453 美国 新泽西 纽瓦克 cmi.chinamobile.com 10 211.93ms 2402:4f00:1000:*:*:*:*:* AS58453 中国 香港 cmi.chinamobile.com 11-14 218.74ms 2409:8080:0:*:*:*:*:* AS9808 中国 广东 广州 chinamobileltd.com 移动 15-16 262.32ms 2409:8055:3010:*:*:*:*:* AS56040 中国 广东省 深圳市 gd.10086.cn 移动 18 323.13ms 2409:8c54:1000:*:*:*:*:* AS9808 中国 广东省 深圳市 chinamobileltd.com 移动
7、性能
综合:
------------------------CPU测试--通过sysbench测试-------------------------
-> CPU 测试中 (Fast Mode, 1-Pass @ 5sec)
1 线程测试(单核)得分: 5917 Scores
--------------------内存测试--感谢lemonbench开源----------------------------
-> 内存测试 Test (Fast Mode, 1-Pass @ 5sec)
单线程读测试: 63306.06 MB/s
单线程写测试: 39699.67 MB/s
--------------------磁盘dd读写测试--感谢lemonbench开源--------------------
-> 磁盘IO测试中 (4K Block/1M Block, Direct Mode)
测试操作 写速度 读速度
100MB-4K Block 31.1 MB/s (7592 IOPS, 3.37s) 34.8 MB/s (8497 IOPS, 3.01s)
1GB-1M Block 410 MB/s (391 IOPS, 2.56s) 983 MB/s (937 IOPS, 1.07s)
----------------------磁盘fio读写测试--感谢yabs开源-----------------------
Block Size | 4k (IOPS) | 64k (IOPS)
------ | --- ---- | ---- ----
Read | 76.30 MB/s (19.0k) | 243.32 MB/s (3.8k)
Write | 76.50 MB/s (19.1k) | 244.60 MB/s (3.8k)
Total | 152.80 MB/s (38.2k) | 487.93 MB/s (7.6k)
| |
Block Size | 512k (IOPS) | 1m (IOPS)
------ | --- ---- | ---- ----
Read | 214.22 MB/s (418) | 311.85 MB/s (304)
Write | 225.61 MB/s (440) | 332.62 MB/s (324)
Total | 439.83 MB/s (858) | 644.48 MB/s (628)
SysBench 测试:
SysBench CPU 测试 (Fast Mode, 1-Pass @ 5sec) --------------------------------- 1 线程测试(单核)得分: 5621 Scores SysBench 内存测试 (Fast Mode, 1-Pass @ 5sec) --------------------------------- 单线程读测试: 68388.70 MB/s 单线程写测试: 38855.31 MB/s
Geekbench 5 Benchmark Test:
Geekbench 5 Benchmark Test:
---------------------------------
Test | Value
|
Single Core | 1717
Multi Core | 1757
Full Test | https://browser.geekbench.com/v5/cpu/24051037
8、最后
广播IP,解锁能力一般
网络情况:
电信回程(基本是国际线路Cogent -> 163,大致路径例如北京电信是加拿大 -> 英国 -> 荷兰 -> 北京 )
联通回程(大致是国际线路Cogent -> 4837,大致路径例如北京联通是加拿大 -> 美国 -> 北京 )
移动回程( 国际线路HE -> CMI ,大致路径加拿大 -> 美国 -> 国内)
三网回程路由:
五、三网回程路由(线路可能随网络负载动态变化) 北京TCP:电信 Cogent->163 || 联通 Cogent->4837 || 移动 HE->CMI 北京UDP:电信 Cogent->163 || 联通 Cogent->4837 || 移动 HE->CMI 上海TCP:电信 Cogent->163 || 联通 HE->4837 || 移动 HE->CMI 上海UDP:电信 Cogent->163 || 联通 HE->4837 || 移动 HE->CMI 广州TCP:电信 Cogent->163 || 联通 HE->4837 || 移动 HE->CMI 广州UDP:电信 Cogent->163 || 联通 HE->4837 || 移动 HE->CMI


















