EVOXT提供AMD高性能处理器+NVMe硬盘,1Gbps大带宽,1*IPv4+1*IPv6双栈,支持每周备份,支持Windows server 2012/2016/2022。目前该商家在欧洲已有德国、英国、波兰以及荷兰数据中心的VPS,宿主机为AMD EPYC 9004高端硬件,最低配2.99美元/月起。这篇笔记就来测评该商家的美国纽约VPS,分享下最新的测评数据~
1、官网
官方网站:https://evoxt.com/
2、纽约VPS套餐
AMD高性能处理器+NVMe硬盘,1Gbps大带宽,1*IPv4+1*IPv6双栈,支持每周备份,支持Windows server 2012/2016/2022
Tips:标注红色文字套餐为今天的测评机器。
| CPU | 内存 | NVMe | 带宽/月流量 | 月付 | 购买 |
| 1核 | 512M | 5G | 1Gbps/500G | $2.99 | 链接 |
| 1核 | 1G | 10G | 1Gbps/750G | $4.99 | 链接 |
| 1核 | 2G | 20G | 1Gbps/1T | $5.99 | 链接 |
| 2核 | 2G | 20G | 1Gbps/1.5T | $6.95 | 链接 |
| 2核 | 4G | 30G | 1Gbps/2T | $11.99 | 链接 |
| 4核 | 4G | 30G | 1Gbps/3T | $14.99 | 链接 |
| 4核 | 8G | 60G | 1Gbps/4T | $23.99 | 链接 |
| 8核 | 8G | 60G | 1Gbps/5T | $29.99 | 链接 |
| 8核 | 16G | 80G | 1Gbps/6T | $47.99 | 链接 |
| 16核 | 16G | 80G | 1Gbps/8T | $60.95 | 链接 |
| 16核 | 32G | 100G | 1Gbps/10T | $95.99 | 链接 |
3、基本参数
Basic System Information: --------------------------------- Uptime : 0 days, 0 hours, 19 minutes Processor : AMD EPYC-Milan Processor CPU cores : 1 @ 4291.920 MHz AES-NI : ✔ Enabled VM-x/AMD-V : ❌ Disabled RAM : 457.8 MiB Swap : 1.0 GiB Disk : 5.0 GiB Distro : Debian GNU/Linux 12 (bookworm) Kernel : 6.1.0-9-amd64 VM Type : KVM IPv4/IPv6 : ✔ Online / ✔ Online IPv6 Network Information: --------------------------------- ISP : Evoxt Enterprise ASN : AS149440 Evoxt Enterprise Host : Evoxtv6 Location : New York, New York (NY) Country : United States
4、IP测试
IP质量测试(ipv6):
5、网络测试
Speedtest:
iperf3 Network Speed Tests:
iperf3 Network Speed Tests (IPv4): --------------------------------- Provider | Location (Link) | Send Speed | Recv Speed | Ping ----- | ----- | ---- | ---- | ---- Clouvider | London, UK (10G) | 1.88 Gbits/sec | 1.44 Gbits/sec | 73.8 ms Eranium | Amsterdam, NL (100G) | 1.75 Gbits/sec | 1.32 Gbits/sec | 76.2 ms Uztelecom | Tashkent, UZ (10G) | busy | 392 Mbits/sec | 146 ms Leaseweb | Singapore, SG (10G) | 451 Mbits/sec | 385 Mbits/sec | 245 ms Clouvider | Los Angeles, CA, US (10G) | 2.04 Gbits/sec | 1.46 Gbits/sec | 61.0 ms Leaseweb | NYC, NY, US (10G) | 9.33 Gbits/sec | 9.27 Gbits/sec | 1.59 ms Edgoo | Sao Paulo, BR (1G) | 1.15 Gbits/sec | 897 Mbits/sec | 110 ms iperf3 Network Speed Tests (IPv6): --------------------------------- Provider | Location (Link) | Send Speed | Recv Speed | Ping ----- | ----- | ---- | ---- | ---- Clouvider | London, UK (10G) | 1.85 Gbits/sec | 1.38 Gbits/sec | 73.8 ms Eranium | Amsterdam, NL (100G) | 1.75 Gbits/sec | 1.32 Gbits/sec | 76.2 ms Uztelecom | Tashkent, UZ (10G) | 821 Mbits/sec | 651 Mbits/sec | 146 ms Leaseweb | Singapore, SG (10G) | 441 Mbits/sec | 362 Mbits/sec | 245 ms Clouvider | Los Angeles, CA, US (10G) | 2.23 Gbits/sec | 1.70 Gbits/sec | 61.0 ms Leaseweb | NYC, NY, US (10G) | 9.24 Gbits/sec | 9.11 Gbits/sec | 1.60 ms Edgoo | Sao Paulo, BR (1G) | 1.14 Gbits/sec | 906 Mbits/sec | 110 ms
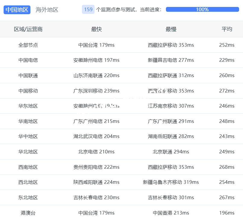
网络质量体检(ipv4):
网络质量体检(ipv6):
ping检测:
6、路由
三网回程(ipv4)
五、三网回程路由(线路可能随网络负载动态变化) 北京 电信 Arelion -> 163 地理路径:美国 -> 北京 自治系统路径:AS18450 -> AS1299 -> AS4134 -> AS4847 1 0.38ms 173.231.*.* AS18450 [WEBNX-BLK] 美国 加利福尼亚 洛杉矶 WebNX.com 2 1.52ms 64.185.*.* AS18450 美国 纽约州 纽约 WebNX.com 3-4 0.29ms 213.248.*.* AS1299 [TELIANET] 美国 纽约 纽约 arelion.com 5-6 65.82ms 62.115.*.* AS1299 [ARELION-NET] 美国 伊利诺伊 芝加哥 arelion.com 7 65.09ms 62.115.*.* AS1299 [ARELION-NET] 新加坡 arelion.com 8 68.96ms 62.115.*.* AS1299 [ARELION-NET] 美国 加利福尼亚 圣何塞 arelion.com 9-11 65.94ms 218.30.*.* AS4134 [CHINANET-US] 美国 加利福尼亚 圣何塞 Cogent/Telia-CT-PoP chinatelecom.com.cn 电信 12-14 212.99ms 202.97.*.* AS4134 [CHINANET-BB] 中国 北京 chinatelecom.com.cn 电信 15 215.70ms 36.112.*.* AS4847 中国 北京 bj.189.cn 16-17 221.92ms 219.141.*.* AS4847 [CHINATELECOM-BJ] 中国 北京 bj.189.cn 18 216.84ms 219.141.*.* AS4847 [CHINATELECOM-BJ] 中国 北京 bj.189.cn 北京 联通 Arelion -> 4837 地理路径:美国 -> 荷兰 -> 法国 -> 德国 -> 北京 自治系统路径:AS18450 -> AS1299 -> AS4837 -> AS4808 1 0.40ms 173.231.*.* AS18450 [WEBNX-BLK] 美国 加利福尼亚 洛杉矶 WebNX.com 2-3 0.21ms 64.185.*.* AS18450 美国 纽约州 纽约 WebNX.com 4 1.15ms 62.115.*.* AS1299 [ARELION-NET] 美国 纽约 纽约 arelion.com 5 1.29ms 62.115.*.* AS1299 [ARELION-NET] 美国 新泽西州 纽瓦克 arelion.com 6 89.83ms 62.115.*.* AS1299 [ARELION-NET] 荷兰 北荷兰省 阿姆斯特丹 arelion.com 7 76.39ms 62.115.*.* AS1299 [ARELION-NET] 法国 法兰西岛大区 巴黎 arelion.com 8-9 84.35ms 62.115.*.* AS1299 [ARELION-NET] 德国 黑森州 美因河畔法兰克福 arelion.com 10 202.06ms 219.158.*.* AS4837 [CU169-BACKBONE] 德国 黑森 美因河畔法兰克福 chinaunicom.cn 联通 11 205.31ms 219.158.*.* AS4837 [CU169-BACKBONE] 中国 北京 X-I chinaunicom.cn 联通 12 293.13ms 219.158.*.* AS4837 [CU169-BACKBONE] 中国 广东 广州 chinaunicom.cn 联通 14 284.28ms 125.33.*.* AS4808 [UNICOM-BJ] 中国 北京 www.bbn.com.cn 联通 15 267.24ms 61.148.*.* AS4808 [UNICOM-CN] 中国 北京 www.bbn.com.cn 18 212.60ms 221.222.*.* AS4808 [UNICOM-BJ] 中国 北京 海淀 www.bbn.com.cn 北京 移动 Level3 -> CMI 地理路径:美国 -> 北京 自治系统路径:AS18450 -> AS3356 -> AS58453 -> AS9808 -> AS56048 1 0.33ms 173.231.*.* AS18450 [WEBNX-BLK] 美国 加利福尼亚 洛杉矶 WebNX.com 2 0.23ms 64.185.*.* AS18450 美国 纽约州 纽约 WebNX.com 3-4 0.78ms 64.159.*.* AS3356 美国 纽约 纽约 lumen.com 5 67.28ms 4.68.*.* AS3356 美国 加利福尼亚 洛杉矶 lumen.com 6-7 66.95ms 223.120.*.* AS58453 [CMI-INT] 美国 加利福尼亚 洛杉矶 cmi.chinamobile.com 移动 8-10 249.64ms 221.183.*.* AS9808 [CMNET] 中国 北京 X-I chinamobileltd.com 移动 13-15 253.97ms 211.136.*.* AS56048 [CMNET] 中国 北京 bj.10086.cn 移动 17 254.01ms 211.136.*.* AS56048 [CMNET] 中国 北京 bj.10086.cn 移动 上海 电信 Arelion -> 163 地理路径:美国 -> 上海 自治系统路径:AS18450 -> AS1299 -> AS4134 -> AS4812 1 0.38ms 173.231.*.* AS18450 [WEBNX-BLK] 美国 加利福尼亚 洛杉矶 WebNX.com 2-3 1.49ms 64.185.*.* AS18450 美国 纽约州 纽约 WebNX.com 4 0.35ms 213.248.*.* AS1299 [TELIANET] 美国 纽约 纽约 arelion.com 5-6 65.74ms 62.115.*.* AS1299 [ARELION-NET] 美国 伊利诺伊 芝加哥 arelion.com 7 65.21ms 62.115.*.* AS1299 [ARELION-NET] 新加坡 arelion.com 8 69.29ms 62.115.*.* AS1299 [ARELION-NET] 美国 加利福尼亚 圣何塞 arelion.com 9-11 121.25ms 218.30.*.* AS4134 [CHINANET-US] 美国 加利福尼亚 圣何塞 Cogent/Telia-CT-PoP chinatelecom.com.cn 电信 12-14 206.65ms 202.97.*.* AS4134 [CHINANET-BB] 中国 上海 chinatelecom.com.cn 电信 19 202.81ms 101.226.*.* AS4812 [CHINANET-SH] 中国 上海市 chinatelecom.cn 电信 上海 联通 Arelion -> 4837 地理路径:美国 -> 北京 -> 上海 自治系统路径:AS18450 -> AS1299 -> AS4837 -> AS140979 1 0.49ms 173.231.*.* AS18450 [WEBNX-BLK] 美国 加利福尼亚 洛杉矶 WebNX.com 2 1.34ms 64.185.*.* AS18450 美国 纽约州 纽约 WebNX.com 3-4 0.49ms 213.248.*.* AS1299 [TELIANET] 美国 纽约 纽约 arelion.com 5 6.16ms 62.115.*.* AS1299 [ARELION-NET] 美国 弗吉尼亚 阿什本 arelion.com 6-7 61.71ms 62.115.*.* AS1299 [ARELION-NET] 美国 加利福尼亚 洛杉矶 arelion.com 8 63.48ms 62.115.*.* AS1299 [ARELION-NET] 美国 德克萨斯 达拉斯 arelion.com 10-13 205.82ms 80.239.*.* AS1299 美国 加利福尼亚 洛杉矶 arelion.com 14-16 233.25ms 219.158.*.* AS4837 [CU169-BACKBONE] 中国 北京 chinaunicom.cn 20 234.74ms 58.246.*.* AS140979 中国 上海市 chinaunicom.cn 联通 上海 移动 Level3 -> CMI 地理路径:美国 -> 上海 自治系统路径:AS18450 -> AS3356 -> AS58453 -> AS9808 1 0.56ms 173.231.*.* AS18450 [WEBNX-BLK] 美国 加利福尼亚 洛杉矶 WebNX.com 2-3 0.24ms 64.185.*.* AS18450 美国 纽约州 纽约 WebNX.com 4 10.10ms 64.159.*.* AS3356 美国 纽约 纽约 lumen.com 5 64.09ms 4.69.*.* AS3356 美国 华盛顿 西雅图 lumen.com 6-7 73.16ms 223.120.*.* AS58453 [CMI-INT] 美国 华盛顿州 西雅图 cmi.chinamobile.com 移动 8 257.34ms 223.120.*.* AS58453 [CMI-INT] 中国 上海 cmi.chinamobile.com 移动 9-11 260.43ms 221.183.*.* AS9808 [CMNET] 中国 上海 I-C chinamobileltd.com 移动 14 269.07ms 117.185.*.* AS9808 [CMNET] 中国 上海市 chinamobileltd.com 移动 广东 电信 Arelion -> 163 地理路径:美国 -> 广东 自治系统路径:AS18450 -> AS1299 -> AS4134 1 0.43ms 173.231.*.* AS18450 [WEBNX-BLK] 美国 加利福尼亚 洛杉矶 WebNX.com 2-3 1.37ms 64.185.*.* AS18450 美国 纽约州 纽约 WebNX.com 4 0.49ms 213.248.*.* AS1299 [TELIANET] 美国 纽约 纽约 arelion.com 5 71.99ms 62.115.*.* AS1299 [ARELION-NET] 美国 伊利诺伊 芝加哥 arelion.com 6-7 65.24ms 62.115.*.* AS1299 [ARELION-NET] 新加坡 arelion.com 8-9 69.48ms 62.115.*.* AS1299 [ARELION-NET] 美国 加利福尼亚 圣何塞 arelion.com 10-11 81.07ms 218.30.*.* AS4134 [CHINANET-US] 美国 加利福尼亚 圣何塞 Cogent/Telia-CT-PoP chinatelecom.com.cn 电信 12 214.78ms 202.97.*.* AS4134 [CHINANET-BB] 中国 广东 广州 chinatelecom.com.cn 电信 13-15 248.71ms 113.96.*.* AS4134 [CHINANET-GD] 中国 广东 广州 chinatelecom.com.cn 电信 19 223.89ms 183.47.*.* AS4134 [APNIC-AP] 中国 广东省 广州市 chinatelecom.com.cn 电信 广东 联通 Arelion -> 4837 地理路径:美国 -> 北京 -> 广东 自治系统路径:AS18450 -> AS1299 -> AS4837 -> AS136958 1 0.38ms 173.231.*.* AS18450 [WEBNX-BLK] 美国 加利福尼亚 洛杉矶 WebNX.com 2 1.48ms 64.185.*.* AS18450 美国 纽约州 纽约 WebNX.com 3-4 0.39ms 213.248.*.* AS1299 [TELIANET] 美国 纽约 纽约 arelion.com 5 6.67ms 62.115.*.* AS1299 [ARELION-NET] 瑞典 斯德哥尔摩省 斯德哥尔摩 arelion.com 6-7 62.03ms 62.115.*.* AS1299 [ARELION-NET] 美国 加利福尼亚 洛杉矶 arelion.com 8 62.43ms 62.115.*.* AS1299 [ARELION-NET] 美国 德克萨斯 达拉斯 arelion.com 9 205.63ms 80.239.*.* AS1299 美国 加利福尼亚 洛杉矶 arelion.com 14 227.63ms 219.158.*.* AS4837 [CU169-BACKBONE] 中国 北京 chinaunicom.cn 联通 20 239.90ms 157.148.*.* AS136958 [UNICOM-GD] 中国 广东省 广州市 chinaunicom.cn 联通 广东 移动 Level3 -> CMI 地理路径:美国 -> 德国 -> 香港 -> 广东 自治系统路径:AS18450 -> AS3356 -> AS58453 -> AS9808 -> AS56040 1 0.45ms 173.231.*.* AS18450 [WEBNX-BLK] 美国 加利福尼亚 洛杉矶 WebNX.com 2-3 0.31ms 64.185.*.* AS18450 美国 纽约州 纽约 WebNX.com 4 2.70ms 64.159.*.* AS3356 美国 纽约 纽约 lumen.com 5-6 83.98ms 4.68.*.* AS3356 德国 黑森 美因河畔法兰克福 lumen.com 7 231.51ms 223.120.*.* AS58453 [CMI-INT] 中国 香港 cmi.chinamobile.com 移动 8-10 237.09ms 221.183.*.* AS9808 [CMNET] 中国 广东 广州 I-C chinamobileltd.com 移动 11 278.64ms 211.136.*.* AS56040 [CMNET] 中国 广东 深圳 gd.10086.cn 移动 12-14 295.32ms 183.235.*.* AS56040 [APNIC-AP] 中国 广东 广州 gd.10086.cn 移动 17 300.25ms 211.139.*.* AS56040 [CMNET] 中国 广东 广州 gd.10086.cn 移动
电信去程:
联通去程:
移动去程:
三网回程(ipv6)
北京 电信 Level3 -> 163 地理路径:美国 -> 北京 自治系统路径:AS149440 -> AS18450 -> AS3356 -> AS4134 -> AS23724 1 0.80ms 2400:8d60:7:*:*:*:*:* AS149440 美国 纽约州 纽约 evoxt.com 2 0.22ms 2607:f2d8:2000:*:*:*:*:* AS18450 美国 纽约州 纽约 WebNX.com 3 1.12ms 2001:1900:2100:*:*:*:*:* AS3356 美国 纽约 纽约 lumen.com 4 68.13ms 2001:1900::*:*:*:*:* AS3356 美国 加利福尼亚 圣何塞 Level3-CT-PoP lumen.com 5 12.47ms 2605:9d80:8021:*:*:*:*:* AS4134 美国 弗吉尼亚州 阿什本 chinatelecom.com.cn 电信 6-8 206.40ms 240e:0:a:*:*:*:*:* AS4134 中国 北京 chinatelecom.com.cn 电信 9-12 214.04ms 240e:0:9000:*:*:*:*:* AS23724 中国 北京 bjtelecom.net 电信 13 213.89ms 240e:904:800:*:*:*:*:* AS23724 中国 北京市 bjtelecom.net 电信 北京 联通 Zayo -> 4837 地理路径:美国 -> 北京 自治系统路径:AS149440 -> AS18450 -> AS3356 -> AS6461 -> AS4837 -> AS4808 1 0.74ms 2400:8d60:7:*:*:*:*:* AS149440 美国 纽约州 纽约 evoxt.com 2 2.05ms 2607:f2d8:2000:*:*:*:*:* AS18450 美国 纽约州 纽约 WebNX.com 3 1.64ms 2001:1900:2100:*:*:*:*:* AS3356 美国 纽约 纽约 lumen.com 4 62.28ms 2001:438:ffff:*:*:*:*:* AS6461 美国 加利福尼亚 洛杉矶 zayo.com 7 249.35ms 2408:8000:2:*:*:*:*:* AS4837 中国 北京 chinaunicom.cn 联通 9-10 233.88ms 2408:8000:1100:*:*:*:*:* AS4808 中国 北京 www.bbn.com.cn 联通 12 233.37ms 2408:8706:0:*:*:*:*:* AS4808 中国 北京市 www.bbn.com.cn 联通 北京 移动 AS18450 -> CMI 地理路径:美国 -> 香港 -> 广东 -> 北京 自治系统路径:AS149440 -> AS18450 -> AS58453 -> AS9808 1 1.05ms 2400:8d60:7:*:*:*:*:* AS149440 美国 纽约州 纽约 evoxt.com 2-3 0.32ms 2607:f2d8:2000:*:*:*:*:* AS18450 美国 纽约州 纽约 WebNX.com 6 226.28ms 2402:4f00:1000:*:*:*:*:* AS58453 中国 香港 cmi.chinamobile.com 7-10 217.33ms 2409:8080:0:*:*:*:*:* AS9808 中国 广东 广州 chinamobileltd.com 移动 11-13 254.94ms 2409:8080:0:*:*:*:*:* AS9808 中国 北京市 chinamobileltd.com 移动 14 253.74ms 2409:8c00:7821:*:*:*:*:* AS9808 中国 北京市 chinamobileltd.com 移动 上海 电信 Level3 -> 163 地理路径:美国 -> 上海 自治系统路径:AS149440 -> AS18450 -> AS3356 -> AS4134 -> AS4812 1 0.80ms 2400:8d60:7:*:*:*:*:* AS149440 美国 纽约州 纽约 evoxt.com 2 1.09ms 2607:f2d8:2000:*:*:*:*:* AS18450 美国 纽约州 纽约 WebNX.com 3 1.13ms 2001:1900:2100:*:*:*:*:* AS3356 美国 纽约 纽约 lumen.com 4 67.47ms 2001:1900::*:*:*:*:* AS3356 美国 加利福尼亚 圣何塞 Level3-CT-PoP lumen.com 5 11.03ms 2605:9d80:8021:*:*:*:*:* AS4134 美国 弗吉尼亚州 阿什本 chinatelecom.com.cn 电信 6-9 199.56ms 240e:0:a:*:*:*:*:* AS4134 中国 上海 chinatelecom.com.cn 电信 10-12 210.47ms 240e:18:10:*:*:*:*:* AS4812 中国 上海 chinatelecom.cn 13 202.08ms 240e:96c:6000:*:*:*:*:* AS4812 中国 上海市 chinatelecom.cn 电信 上海 联通 TATA -> 4837 地理路径:美国 -> 江苏 -> 北京 自治系统路径:AS149440 -> AS18450 -> AS6453 -> AS4837 1 1.18ms 2400:8d60:7:*:*:*:*:* AS149440 美国 纽约州 纽约 evoxt.com 2 0.35ms 2607:f2d8:2000:*:*:*:*:* AS18450 美国 纽约州 纽约 WebNX.com 3 0.54ms 2001:5a0:400:*:*:*:*:* AS6453 美国 纽约 纽约 tatacommunications.com 4-5 5.77ms 2001:5a0:4500:*:*:*:*:* AS6453 美国 新泽西州 纽瓦克 tatacommunications.com 7-8 21.09ms 2001:5a0:4201:*:*:*:*:* AS6453 美国 伊利诺伊 芝加哥 tatacommunications.com 9 64.47ms 2001:5a0:3e02:*:*:*:*:* AS6453 美国 加利福尼亚 圣何塞 tatacommunications.com 10 259.94ms 2408:8000:a009:*:*:*:*:* AS4837 中国 江苏 泰州 chinaunicom.cn 11-12 260.41ms 2408:8000:2:*:*:*:*:* AS4837 中国 北京 chinaunicom.cn 联通 13 266.00ms 2408:8000:2:*:*:*:*:* AS4837 中国 北京 chinaunicom.cn 联通 上海 移动 AS18450 -> CMI 地理路径:美国 -> 上海 自治系统路径:AS149440 -> AS18450 -> AS58453 -> AS9808 1 0.89ms 2400:8d60:7:*:*:*:*:* AS149440 美国 纽约州 纽约 evoxt.com 2-3 0.38ms 2607:f2d8:2000:*:*:*:*:* AS18450 美国 纽约州 纽约 WebNX.com 4 61.47ms 2001:504:1:*:*:*:*:* AS58453 美国 纽约州 纽约 NYIIX New York - China Mobile International - 100Gbps cmi.chinamobile.com 6 264.95ms 2402:4f00:1000:*:*:*:*:* AS58453 中国 上海 cmi.chinamobile.com 移动 7 245.67ms 2402:4f00:1000:*:*:*:*:* AS58453 中国 香港 cmi.chinamobile.com 8-12 254.12ms 2409:8080:0:*:*:*:*:* AS9808 中国 上海 chinamobileltd.com 移动 14 249.56ms 2409:8c1e:68e0:*:*:*:*:* AS9808 中国 上海市 chinamobileltd.com 移动 广东 电信 Level3 -> 163 地理路径:美国 -> 广东 自治系统路径:AS149440 -> AS18450 -> AS3356 -> AS4134 -> AS4816 1 1.14ms 2400:8d60:7:*:*:*:*:* AS149440 美国 纽约州 纽约 evoxt.com 2 0.29ms 2607:f2d8:2000:*:*:*:*:* AS18450 美国 纽约州 纽约 WebNX.com 3 1.32ms 2001:1900:2100:*:*:*:*:* AS3356 美国 纽约 纽约 lumen.com 4 88.95ms 2001:1900::*:*:*:*:* AS3356 美国 加利福尼亚 圣何塞 Level3-CT-PoP lumen.com 6-8 213.13ms 240e:0:a:*:*:*:*:* AS4134 中国 广东 广州 chinatelecom.com.cn 电信 9-11 219.54ms 240e:1f:6000:*:*:*:*:* AS4816 中国 广东 深圳 电信 13 217.21ms 240e:97c:4008:*:*:*:*:* AS4816 中国 广东省 深圳市 电信 广东 联通 TATA -> 4837 地理路径:美国 -> 广东 自治系统路径:AS149440 -> AS18450 -> AS6453 -> AS4837 -> AS6453 -> AS135061 -> AS17623 -> AS4837 -> AS135061 1 0.92ms 2400:8d60:7:*:*:*:*:* AS149440 美国 纽约州 纽约 evoxt.com 2 0.32ms 2607:f2d8:2000:*:*:*:*:* AS18450 美国 纽约州 纽约 WebNX.com 3 0.42ms 2001:5a0:400:*:*:*:*:* AS6453 美国 纽约 纽约 tatacommunications.com 4-5 5.70ms 2001:5a0:4500:*:*:*:*:* AS6453 美国 新泽西州 纽瓦克 tatacommunications.com 6 207.37ms 2408:8000:2:*:*:*:*:* AS4837 中国 北京 chinaunicom.cn 联通 7-8 21.68ms 2001:5a0:4201:*:*:*:*:* AS6453 美国 伊利诺伊 芝加哥 tatacommunications.com 9 65.03ms 2001:5a0:3e02:*:*:*:*:* AS6453 美国 加利福尼亚 圣何塞 tatacommunications.com 10 276.60ms 2408:8001:3171:*:*:*:*:* AS135061 中国 广东省 深圳市 chinaunicom.cn 联通 11 243.78ms 2408:8001:3071:*:*:*:*:* AS17623 中国 广东 深圳 chinaunicom.cn 13 240.73ms 2408:8756:2cef:*:*:*:*:* AS135061 中国 广东省 深圳市 chinaunicom.cn 联通 广东 移动 AS18450 -> CMI 地理路径:美国 -> 香港 -> 广东 自治系统路径:AS149440 -> AS18450 -> AS58453 -> AS9808 -> AS56040 -> AS9808 1 0.82ms 2400:8d60:7:*:*:*:*:* AS149440 美国 纽约州 纽约 evoxt.com 2-3 0.76ms 2607:f2d8:2000:*:*:*:*:* AS18450 美国 纽约州 纽约 WebNX.com 6 234.43ms 2402:4f00:1000:*:*:*:*:* AS58453 中国 香港 cmi.chinamobile.com 7-10 213.93ms 2409:8080:0:*:*:*:*:* AS9808 中国 广东 广州 chinamobileltd.com 移动 11-13 278.66ms 2409:8055:3010:*:*:*:*:* AS56040 中国 广东省 深圳市 gd.10086.cn 移动 14 263.45ms 2409:8c54:1000:*:*:*:*:* AS9808 中国 广东省 深圳市 chinamobileltd.com 移动 ================================================================================
7、性能
SysBench 测试:
SysBench CPU 测试 (Fast Mode, 1-Pass @ 5sec) --------------------------------- 1 线程测试(单核)得分: 6289 Scores SysBench 内存测试 (Fast Mode, 1-Pass @ 5sec) --------------------------------- 单线程读测试: 96400.43 MB/s 单线程写测试: 36329.72 MB/s
Geekbench 5 Benchmark Test:
Geekbench 5 Benchmark Test:
---------------------------------
Test | Value
|
Single Core | 1919
Multi Core | 2060
Full Test | https://browser.geekbench.com/v5/cpu/24038112
fio Disk Speed Tests
fio Disk Speed Tests (Mixed R/W 50/50) (Partition /dev/vda1):
---------------------------------
Block Size | 4k (IOPS) | 64k (IOPS)
------ | --- ---- | ---- ----
Read | 174.37 MB/s (43.5k) | 1.41 GB/s (22.1k)
Write | 174.83 MB/s (43.7k) | 1.42 GB/s (22.2k)
Total | 349.20 MB/s (87.3k) | 2.84 GB/s (44.4k)
| |
Block Size | 512k (IOPS) | 1m (IOPS)
------ | --- ---- | ---- ----
Read | 1.42 GB/s (2.7k) | 1.44 GB/s (1.4k)
Write | 1.49 GB/s (2.9k) | 1.54 GB/s (1.5k)
Total | 2.91 GB/s (5.7k) | 2.99 GB/s (2.9k)
8、最后
测试的IP为原生IP,IPv6为广播IP。原生IP解锁能力不错。
网络情况:
电信回程国际线路arelion直连国内。
联通回程Arelion -> 4837(北京联通绕欧洲回国,上海和广东联通直连回国。)
移动回程Level3 -> CMI(美国直连回国)
电信去程,电信163直连美西之后接驳ntt去往纽约
联通去程,联通骨干线路直连美西之后接驳tata去往纽约
移动去程,移动cmi,从香港走tata先去日本之后去往美西再往美东。
三网回程路由(ipv4)
五、三网回程路由(线路可能随网络负载动态变化) 北京TCP:电信 Arelion->163 || 联通 Arelion->4837 || 移动 Level3->CMI 北京UDP:电信 Arelion->163 || 联通 Arelion->4837 || 移动 Level3->CMI 上海TCP:电信 Arelion->163 || 联通 Arelion->4837 || 移动 Level3->CMI 上海UDP:电信 Arelion->163 || 联通 Arelion->4837 || 移动 Level3->CMI 广州TCP:电信 Arelion->163 || 联通 Arelion->4837 || 移动 Level3->CMI 广州UDP:电信 Arelion->163 || 联通 Arelion->4837 || 移动 Level3->CMI
网回程路由(ipv6)
五、三网回程路由(线路可能随网络负载动态变化) 北京TCP:电信 Level3->163 || 联通 Zayo->4837 || 移动 AS18450->CMI 北京UDP:电信 Level3->163 || 联通 Zayo->4837 || 移动 AS18450->CMI 上海TCP:电信 Level3->163 || 联通 TATA->4837 || 移动 AS18450->CMI 上海UDP:电信 Level3->163 || 联通 TATA->4837 || 移动 AS18450->CMI 广州TCP:电信 Level3->163 || 联通 TATA->4837 || 移动 AS18450->CMI 广州UDP:电信 Level3->163 || 联通 TATA->4837 || 移动 AS18450->CMI
















