前几天大鸟测评了,Vultr-High Frequency硅谷节点。刚好今天看到了Vultr-High Frequency的洛杉矶节点的机器上架了,所以就赶紧来测评一番。
High Frequency高性能云服务器最便宜的是6刀每月,所以性价比突出,而且采用的CPU的主频最低为3GHz,硬盘采用强悍的的SSD NVMe系列,所以这机器还是不错的。
这篇文章就来测评vultr高性能云服务器的洛杉矶节点,当然看本文之前可以阅读之前的文章:
[mark_e]
- Vultr High Frequency Silicon Valley(硅谷)云服务器的性能与速度测评
Vultr( High Frequency)高性能云服务器 – New York (NJ)机房性能评测与速度评测教程
[/mark_e]
一:性能测试
购买啥的就不说了,不会可以参考前面的文章,这里直接上数据了。Average I/O Speed : 1058.1 MB/s,这个I/O还是很给力了,这个类型的机器I/O都差不多。
看看服务器的带宽情况。
额,这个带宽是怎么回事,难道是新上架的机器来没来得及调整带宽么?我还测试了2遍,都是这样!在看看UnixBench测试评分,最终的得分1268.7也还可以。
二:速度
这里就用站长工具测试下ping值,这个ping值,和硅谷差不多,但是感觉上硅谷的ping值更好点。
或许新上架的机器还在调校。在看看脚本的速度测试:
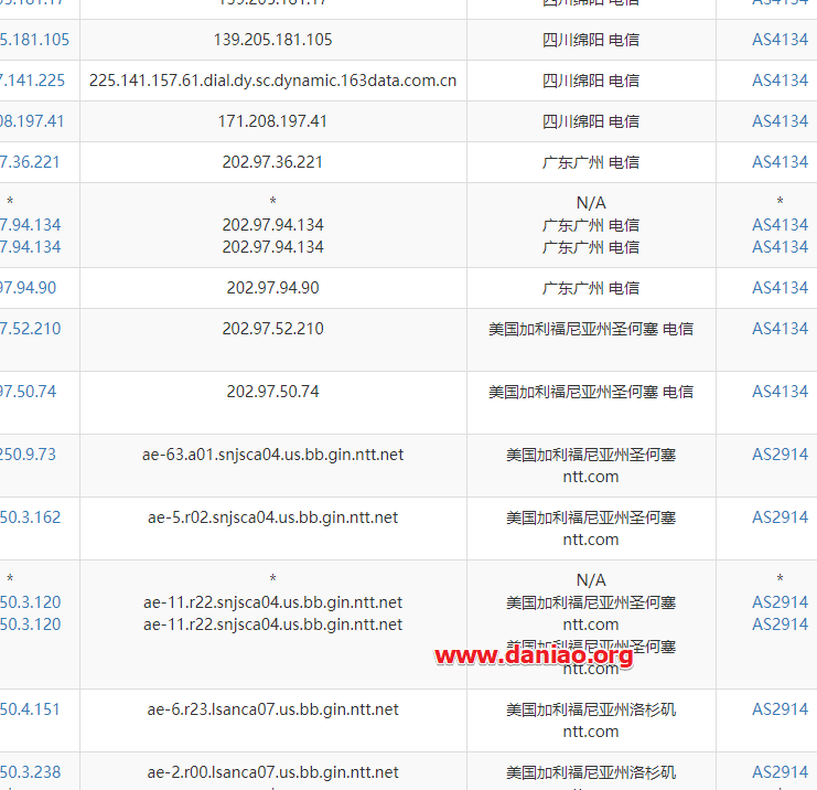
电信路由测试:走的ntt线路,是直连,没有绕路。
移动路由测试:
联通路由测试:
三网线路都是直连,不过走的都是普通线路,所以速度不是很理想。
三:总结
因为这个类型的机器大鸟已经测试了3遍,所以其他的东西看之前的测评文章吧,其他没什么不同也就是服务器的节点不一样而已。
唯一的就是服务器的带宽问题,不知道什么问题,有点偏低。
以上数据只是原始数据,没有安装任何优化!

























